Bồn tiểu nam Lowen LM-03UVP

  • check_circle Mã sản phẩm: LM-03UVP
  • check_circle Xuất xứ: Chính hãng
  • check_circle Tình trạng: Còn hàng

Giá gốc là: 2.890.000 ₫.Giá hiện tại là: 1.200.000 ₫. 58%

Giao hàng siêu tốc
cam kết chính hãng
Chiết khấu hấp dẫn
Thanh toán đơn giản

Mô tả

Thông tin cơ bản bồn tiểu nam Lowen LM-03UVP

  • Bồn tiểu nam hệ thống xả bằng van bấm nút hoặc cảm ứng từ
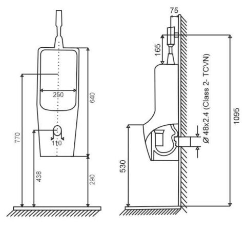
  • Kích thước:300*290*1095 mm
  • Xả vành rim sạch và êm, có ngăn chống mùi
  • Thuận tiện trong công sở và gia đình
  • Sản phẩm sử dụng mên chống dính

Bản vẽ kỹ thuật bồn tiểu nam Lowen LM-03UVP

Để lại bình luận

Email của bạn sẽ không được hiển thị công khai. Các trường bắt buộc được đánh dấu *